中央机关及其直属机构2021年度考试录用公务员公告(2021国考公告)原文
|
2021国考山西岗位表(点击下载:862人) |
||
|
地区 |
岗位数 |
人数 |
|
山西省 |
33 |
57 |
|
太原 |
76 |
109 |
|
大同 |
37 |
87 |
|
朔州 |
21 |
42 |
|
忻州 |
39 |
70 |
|
吕梁 |
41 |
73 |
|
晋中 |
30 |
73 |
|
长治 |
40 |
79 |
|
阳泉 |
17 |
36 |
|
晋城 |
23 |
53 |
|
临汾 |
44 |
91 |
|
运城 |
49 |
94 |
|
合计 |
450 |
862 |
![]() |
![]() |
![]() |
![]() |

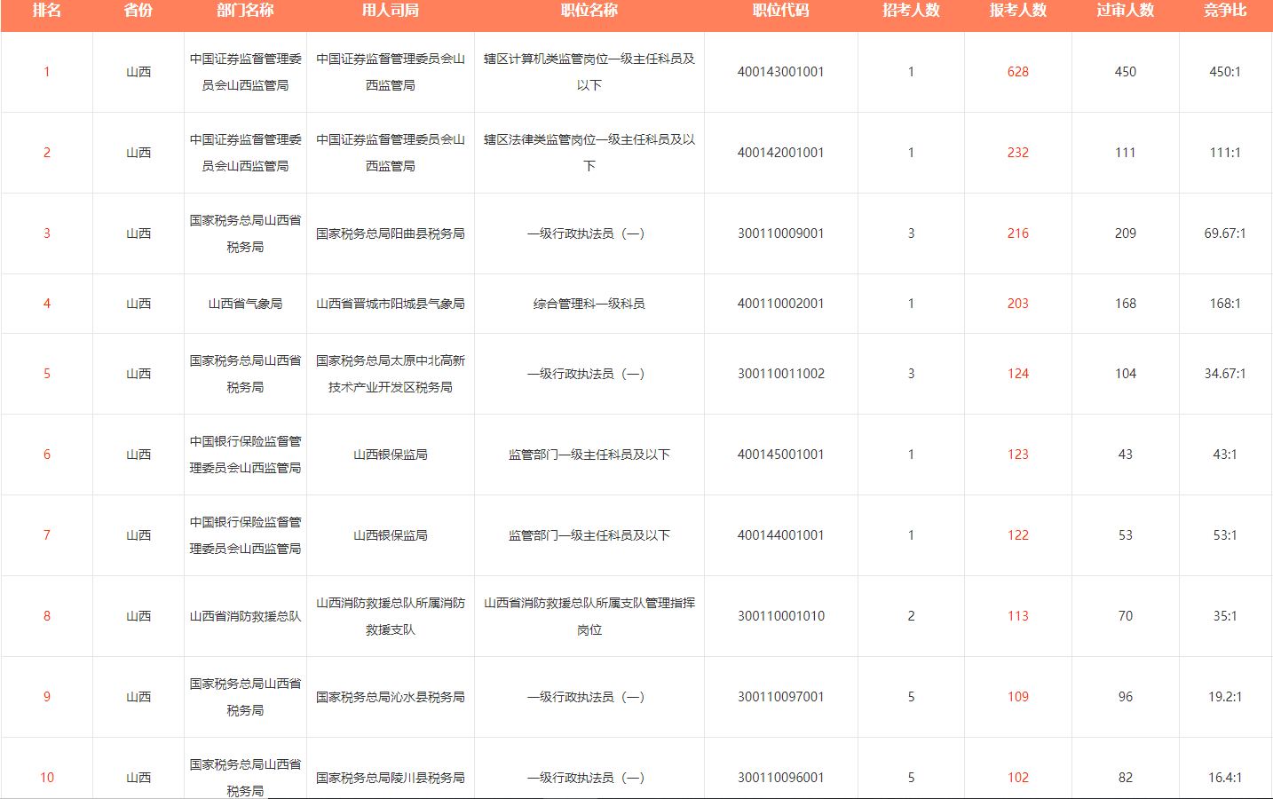
竞争十大岗位
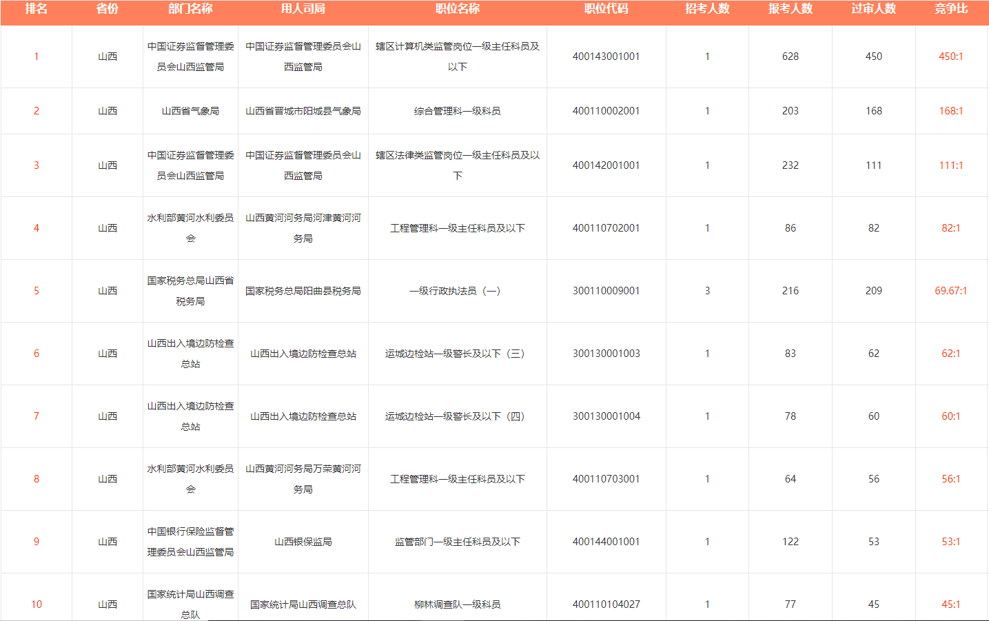
报名人数十大岗位
|
2021国家公务员考试报名【第7日 】报名数据统计 |
||
|
第7日 9时) |
河北 |
2021国考报名人数统计:河北审查通过人数为14900人 最热职位竞争比为258:1[截止至21日9时] |
|
安徽 |
2021国考报名人数统计:安徽总报名10465人,热门岗位竞争比478:1(截止21日9点) |
|
|
天津 |
2021国考报名人数统计:天津5751人过审 总报名人数为7786人[截至21日9时] |
|
|
广西 |
2021国考报名人数统计:广西报名人数超一万六,最热职位553:1(截至21日9时) |
|
|
重庆 |
2021国考报名人数统计:重庆12381人报名,最热职位184:1(21日9时) |
|
|
辽宁 |
2021国考辽宁报名人数分析:已有近2万人报名,11个职位无人报考(截至21日9时) |
|
|
江苏 |
|
|
|
贵州 |
2021国考报名人数统计:第七天贵州报名人数破2.5万 最高竞争比达347:1(截至10月21日9点) |
|
|
宁夏 |
2021国考报名人数统计:宁夏5974人报名 审查通过3989人[截至21日9时] |
|
|
福建 |
2021国考报名人数统计:国家公务员福建报名人数超2.2万人 最高竞争比632:1(截至21日9时) |
|
|
吉林 |
2021国考报考数据:吉林报名近1.3万,最高竞争比315:1(截至21日9时) |
|
|
湖南 |
2021国考报名人数统计:湖南约1.5万人报考 湖南省税务局过审人数破万[截至21日9时] |
|
|
云南 |
|
|
|
浙江 |
2021国考报名人数统计:浙江地区38415人报名,无人报考职位仅剩8个[截至21日9时] |
|
|
江西 |
2021国考报名人数统计:江西地区报名人数近1.8万,最高竞争比425:1,至今仅剩7职位无人报考【截止21日9时】 |
|
|
山西 |
2021国考报名人数统计:山西报名12298人 近五成岗位通过审核[21日9时] |
|
|
甘肃 |
2021甘肃国考报名人数统计:12325人报考 9304人过审 最热竞争比为851:1【截至21日9时】 |
|
|
黑龙江 |
2021国考报名人数统计:黑龙江15918人报名 审核通过13050人(截至21日9时)(截至21日9时) |
|
|
内蒙古 |
2021国考报名人数统计:内蒙古13075人报名 ,最热职位比230:1,15个岗位“挂零”(截至21日9时) |
|
|
北京 |
2021国考报名人数分析:北京97935人报名 审核通过66642人『截止21日9时』 |
|
|
陕西 |
2021国考报名人数统计:陕西地区过审人数破两万 最热职位794:1 [截至21日9时] |
|
|
广东 |
[21日9时]2021国考报名人数统计:广东56629人过审,仍有69个职位无人报考成功 |
|
|
山东 |
2021国考报名人数统计:山东职位报名人数已超3万 最热职位竞争比达557:1[截至21日9时] |
|
|
河南 |
2021国考报名人数统计:河南报名23688人,热门岗位竞争568:1(截至21日9时) |
|
|
上海 |
2021国考报名人数统计:上海报名人数为16765人,部分岗位报名人数过千人,仅有4个岗位无人报考[21日9时] |
|
|
湖北 |
2021国考报名人数统计:湖北地区武汉(汉南)税务局连续6天占据榜首【截止至21日09时】 |
|
|
海南 |
2021国考报名人数统计:海南4388人报名,最高竞争比182:1已有2914人过审【截至21日9时】 |
|